Výstružník nástrčný se zuby ve šroubovici HSS 221432 62 mm H8
Strojní vystružování děr v železných a neželezných kovech, jejich slitin a plastických hmot. Pro upínání slouží držáky ČSN 24 1210 (DIN 217). Více
Objednací číslo: HS-B-03545
Popis produktu
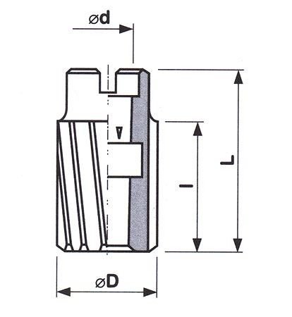
Nástroje na obrábění otvorů Provedení: Materiál výkonná rychlořezná ocel HSS. Upínací díra s kuželovitostí 1:30. Zuby v levé šroubovnici 7° a se stejnoměrnou roztečí. Použití: Strojní vystružování děr v železných a neželezných kovech, jejich slitin a plastických hmot. Pro upínání slouží držáky ČSN 24 1210 (DIN 217). Poznámka: PROFI - nástroje vyráběné vybrušováním a přesným frézováním Poznámka: Výstružníky se vyrábí pro díry s mezními úchylkami H7 a H8, případně dle požadavku zákazníka.
Ø D: 62 mm L: 80 mm l: 56 mm Ø d: 32 mm Hmotnost: 0,970 kg Počet zubů:14 Způsob výroby: F - frézování Povrchová úprava: bez povrchové úpravy Tolerance: H8
Parametry
| Skladem | Ne |
| Aplikační oblast | Dokončování |
| Druh obráběného materiálu | Litina, Neželezné kovy, Nerez, Ocel |